Pearson 10M Boom Upgrade
Boom Upgrade Back to Projects


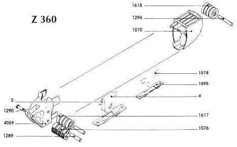
For the 2020 season I upgraded the OEM boom with a replacement that had provisions for internal reefing and outhaul lines. The replacement is a Z-Spar Z-360 and is a very close in size and weight to the OEM Schaefer boom. I got the boom used and after removing a trash can load of birds nest I made some modifications and adaptations to fit it. These included a new gooseneck toggle, new sheaves, mainsheet bail, boomvang tang, outhaul purchase, and outhaul slide. The new boom has been a great upgrade making reefing and outhaul control easier.

Just the Photos...
Here is the OEM boom. All control lines are external. The outhaul was a cascading 4:1 system that absolutely wouldn't budge under load. The end cap did not have any sheaves for running lines internal.

These photos show the new Z-Spar 360 boom. The bails in the track on the bottom are very handy. In one photo you can see my light air preventer that I deploy when dealing with light air and chop that it not uncommon where I sail. I secure the end of the preventer to a car on the genoa track and it stabilizes the boom and prevents all that unpleasant flogging. I can reach the preventer (and the boom vang) from the companionway. As the wind pipes up it's not needed to prevent flogging. In heavy air conditions where a preventer is called for I have a heavier unit made from my OEM mainsheet blocks. But it is too cumbersome in the light/chop conditions.



Gooseneck Toggle
To mount the boom I made a new toggle to connect it ot the gooseneck fitting on the mast. It is a simple aluminum block that I made to fit with as close a dimensional tolerance as practical to keep it from having excessive play which would lead to excess wear. I also replaced the mounting bolt with one sized to keep it from riding on the threads in the mounting holes. The toggle has a 1/2" bolt for mounting to the gooseneck fitting and a 8mm hole to mount to the metric boom. I decided this was better than drilling out the hole on the boom for an SAE sized pin.



New Sheaves
The Z-Spar boom has sheaves at both ends for reefing lines and outhaul. These were all well worn on the boom I got. I made new sheaves from delrin and fitted them with stainless steel ball bearings. They ride on the original pins. The forward sheaves are smaller than the aft but still large enough to fit the bearings.



Mainsheet Bail
I fabricated a new and beefier mainsheet bail to fit the track on the bottom of the mast. I took a 1/2" SS u-bolt, cut off the threaded ends, and welded it to a SS plate. I also made a threaded backing plate that goes inside the boom. I also got a new tang for the rigid boom vang made to fit the track in this boom by Garhauer.



Internal Outhaul Purchase
I added a 5:1 outhaul purchase inside the boom. The control line leads to the forward sheaves and out through one of the cam clutches where it is secured. There are two double blocks with the forward one fastened to a bar I mounted inside the boom about 4 feet from the end. A small dynema line runs over the sheave at the boom end and is tied to the mainsail clew and outhaul slide.



Outhaul Slide
The Z-Spar boom has a round bolt-rope slot in the top. I made an outhaul slide from delrin to fit the slot. It has a groove cut in the bottom and a slot through the middle. I used a piece of SS rod to hold a loop of webbing that fits up through the slot to attach to the clew of the main sail. I made a couple versions of this and one with a SS plate in place of the webbing. It became pretty clear that the load of the main sail would have bent the steel plate right away and the plate would have worn badly on the edges of the slot in the boom. The webbing worked really well, slid freely and my hand sewing held up with no signs of trouble after 800 miles of sailing.